广州小鹏汽车科技获批“电动车辆及其光伏充电系统”专利
【本站】3月8日消息,近日,据悉广州小鹏汽车科技有限公司申请的“电动车辆及其光伏充电系统”专利已经获得授权。该专利涉及到电动车辆的光伏充电系统,可以通过连接光伏发电装置,实现利用光能对动力电池进行充电,解决了电动汽车在户外充电困难的问题。这项技术的实现,将提高电动汽车的使用便捷性和可靠性,同时也有望进一步促进清洁能源的普及和应用。
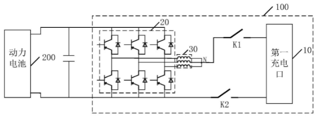
专利摘要显示,该光伏充电系统包括第一充电口、电机驱动器、电机和控制单元。电机驱动器与电机相连,且用于根据动力电池提供的电力驱动电机运行。控制单元则用于在检测到第一充电口连接光伏发电装置时,配置第一充电口与电机驱动器和电机的连接关系,以使电机驱动器和电机组成变换电路,并控制变换电路对光伏发电装置输出的直流电进行变换,以给动力电池充电。
据本站了解,据相关人士介绍,这项技术的落地将会带来极大的益处。对于续航不足以及户外充电困难的电动汽车而言,通过利用光能在任意场景对车辆进行电量补足,能够极大提高电动汽车的使用便捷性和可靠性。同时,这项技术的应用还有望进一步促进清洁能源的普及和应用,推动汽车行业向可持续发展的方向发展。
小鹏汽车科技有限公司的这项专利的授权,也表明了其在电动汽车充电技术领域内的创新和研发得到了认可。这项技术的落地将有望进一步推动电动汽车行业的发展和进步,为我们的未来出行带来更加清洁、环保、可持续的解决方案。
相关文章
- 小鹏P7升级2.12.0版本,智能语音与远程影像查看功能提升
- 小鹏汽车即将推出全新的“智慧场景”功能,个性化驾驶体验即将到来
- 小鹏汽车董事长何小鹏亲临工厂跟进G6生产
- 小鹏汽车CEO何小鹏称赞新政策:纯电汽车迈向替代燃油车关键三步
- 小鹏汽车全新旗舰车型G6下线,官方取消黑武士版本计划
- 中国新能源车市场竞争激烈,蔚来、小鹏、理想居于前列
- 理想汽车交付量依旧居首 小鹏汽车持续挣扎 蔚来汽车下滑严重
- 小鹏G9辅助驾驶系统失控 驾驶员紧急接手避免事故发生
- 小鹏汽车布局318川藏线13座快充站,平均每161公里一座
- 辟谣!小鹏P7接婚车队连环追尾并非因为自动驾驶系统
- 小鹏汽车发布首款SEPA 2.0全域智能进化架构车型——小鹏G6,续航达755km
- 未来5年传统汽油车销量下滑,小鹏汽车CEO预测智能汽车渗透率超35%
- 小鹏汽车推出扶摇全域智能进化架构,打造无人驾驶前的终极技术
- 小鹏汽车3月销量环比增长17% 明星车型P7i逆势热销。
- 小鹏汽车宣布本周日发布2023技术架构发布会
- 小鹏旅航者X2飞行汽车亮相消博会,两三年内量产

